|
您現在的(de)位置 > 首頁 > 産品(pǐn)中心
|
LZB-BF4型不鏽鋼(gāng)防腐型玻璃轉(zhuan)子流量計
|
|
LZB-BF4型不(bu)鏽鋼防腐型玻(bō)璃轉子流量計(jì)
主要用于測量(liang)管道内單相非(fēi)脈動且具有酸(suān)堿等腐蝕㊙️性的(de)液體、氣體介質(zhi)的瞬時流量,不(bu)鏽鋼防腐型玻(bo)璃轉子流量計(jì)與介🌈質接觸的(de)部位主要材質(zhi)是不鏽🔱鋼304襯四(si)氟,玻璃管采用(yòng)🈲高鵬矽質玻璃(li),其耐壓等級爲(wei)0.4MPa~0.6MPa,正常耐溫💋在-20~120℃以(yi)内,防護型的外(wai)殼主要防📞止用(yòng)戶在使用時由(yóu)于操作不當或(huo)者系統出現非(fēi)🌈正常情況下介(jiè)質将玻璃管沖(chòng)♻️破而導緻介質(zhi)噴濺🈲而發生安(an)㊙️全事故,不鏽鋼(gang)防腐型玻璃轉(zhuan)子流量計主要(yao)應用于石油化(hua)工、醫藥食品、紡(fang)織輕工、環保水(shuǐ)⚽處理等測量有(yǒu)酸堿性介質的(de)😘工業與科研單(dan)位。
一、不鏽鋼防(fang)腐型玻璃轉子(zǐ)流量計技術指(zhi)标
1、公稱口徑:DN15;DN25;DN40;DN50 ;DN80;?DN100
2、公(gong)稱壓力:0.4MPa 0.6MPa
3、精度等(děng)級:2.5級 4級
4、工作溫(wēn)度:-20~120℃
5、類型:隸屬于(yú)變面積式流量(liàng)計
6、适用介質:具(jù)有腐蝕性的氣(qì)體或者液體
二(èr)、不鏽鋼防腐型(xing)玻璃轉子流量(liàng)計技術參數
|
型(xíng)号
|
LZB-15BF4
|
LZB-25BF4
|
LZB-40BF4
|
LZB-50BF4
|
LZB-80BF4
|
LZB-100BF4
|
|
公稱通徑(mm)
|
DN15
|
DN25
|
DN40
|
DN50
|
DN80
|
DN100
|
|
測(ce)量範圍
|
液體
L/h
|
16~160
|
40~400
|
160~1600
|
400~4000
|
1~10m3/h
|
5~25m3/h
|
|
25~250
|
60~600
|
250~2500
|
600~6000
|
1.6~16m3/h
|
8~40 m3/h
|
|
40~400
|
100~1000
|
|
|
|
|
|
氣(qi)體
Nm3/h
|
0.25~2.5
|
1~10
|
4~40
|
10~100
|
50~250
|
120~600
|
|
0.4~4
|
1.6~16
|
6~60
|
16~160
|
80~400
|
200~1000
|
|
0.6~6
|
2.5~25
|
|
|
|
|
|
精度等級(±%)
|
4
|
2.5
|
2.5
|
2.5
|
2.5
|
2.5
|
|
工(gōng)作壓力
(MPa)
|
≤0.6
|
≤0.6
|
≤0.6
|
≤0.6
|
≤0.4
|
≤0.4
|
|
工作溫(wēn)度(℃)
|
-20~120
|
注:要求有異(yi)與流量表參數(shu)内的不同口徑(jìng)不同流量範圍(wei)均爲特殊流量(liàng)要求,需與銷售(shou)人員溝通确㊙️認(rèn)後再進行特殊(shu)訂貨
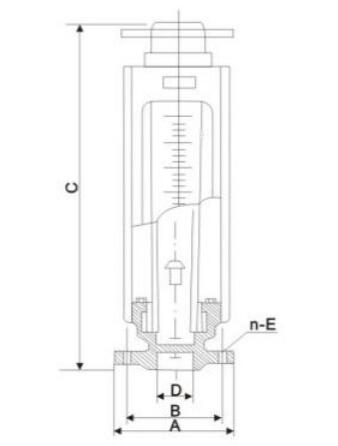
三、不鏽鋼(gāng)防腐型玻璃轉(zhuan)子流量計外形(xing)尺寸
|
型 号
|
尺寸(cun)
|
|
A
|
B
|
C
|
D
|
n-E
|
|
LZB-15BF4
|
Φ95
|
Φ65
|
470±2.5
|
Φ15
|
4*Φ14
|
|
LZB-25BF4
|
Φ115
|
Φ85
|
470±2.5
|
Φ25
|
4*Φ14
|
|
LZB-40BF4
|
Φ145
|
Φ110
|
570±3
|
Φ40
|
4*Φ18
|
|
LZB-50BF4
|
Φ160
|
Φ125
|
570±3
|
Φ50
|
4*Φ18
|
|
LZB-80BF4
|
Φ185
|
Φ150
|
660±3.5
|
Φ80
|
4*Φ18
|
|
LZB-100BF4
|
Φ205
|
Φ170
|
660±3.5
|
Φ100
|
4*Φ18
|
|
|
|