|
插入(ru)式渦街流量計原(yuan)理
LUGB插入式渦街流(liu)量計
采用渦街流(liú)量傳感器測頭,插(cha)入到被測管道中(zhong)心,測量管⚽道中流(liú)量的
大口徑流量(liang)計
。流量傳感器測(cè)頭插入到被測介(jiè)質管道内成爲
插(chā)入式流量計
。其儀(yi)表系數K(1/m3)即被測管(guǎn)道内流過單位體(tǐ)積時,輸出頻率與(yu)介質流速成正比(bǐ)脈沖信号,送至積(jī)算儀進⛱️行處理和(he)顯示或輸出4~20mA标準(zhun)電流信号。
插入式(shi)渦街流量計管道(dào)安裝設計
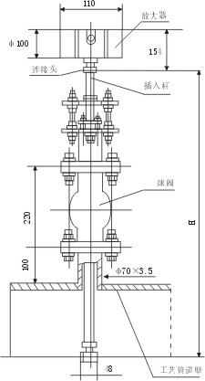
1)插入式(shì)渦街流量傳感器(qì)外型圖及尺寸見(jian)圖。
2)管道(dao)開孔設計,插入式(shì)渦街流量傳感器(qì)在主管道🧑🏾🤝🧑🏼上的安(ān)裝短✂️管如圖所示(shi)。
A)安裝插入式渦街(jie)流量傳感器的開(kai)孔應位于管道正(zhèng)上方。
B)管道開孔連(lian)接短管選用DN100鋼管(guǎn)(Ф108×4)。
C)連接短管法蘭爲(wei)1.6Mpa ,Dg100平焊法蘭,法蘭标(biāo)準爲GB9119.8-88.
D)短管焊接時(shi),法蘭上一直徑的(de)一對(兩個)螺栓孔(kong)必須對準管道中(zhong)心線,以使流量傳(chuan)感器插入杆上已(yǐ)焊好的法蘭與管(guǎn)道短管法蘭連接(jiē)後,測頭能對準來(lái)流方向。
注:
1、D爲管道平(ping)均内徑
2、L爲管道中(zhong)心至管道開孔法(fǎ)蘭上端距離
3、管道(dào)開孔法蘭上的螺(luo)孔位置嚴格按圖(tu)施工。
|