SK-LZB()B/LZJ系列(lie)
不鏽鋼(gang)玻璃轉(zhuan)子流量(liang)計
廣泛(fàn)應用于(yú)化工、石(shí)油、輕工(gong)、醫藥、環(huan)保、食品(pǐn)及計量(liàng)⛹🏻♀️測試、科(kē)🧑🏽🤝🧑🏻學研究(jiū)等部門(men),測量單(dan)相非脈(mò)動流體(tǐ)(液體或(huo)氣體)的(de)流量。
SK-LZB/( )F/LZJ-( )F系(xi)列耐腐(fu)型玻璃(li)轉子流(liu)量計有(you)較強的(de)耐腐性(xing)能,可檢(jiǎn)🌈測酸⛹🏻♀️(氫(qing)氟酸除(chu)外)、堿、氧(yang)化劑和(hé)其它腐(fu)蝕性的(de)🌍氣體或(huò)液體的(de)流量📞,适(shì)用♻️于化(huà)工、制藥(yao)、造紙、污(wū)水處理(li)等行業(yè)。
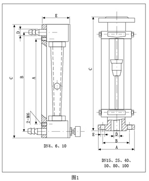
| 外形及(ji)安裝尺(chi)寸 | |
|
|
|
原理(lǐ)與結構(gòu)
|
|
|
SK-LZB/LZB-( )F流(liú)量計的(de)錐管爲(wei)光滑内(nèi)壁管(見(jian)圖4),通徑(jing)DN15以上的(de)流量計(ji),浮子通(tong)過導杆(gǎn) 上下移(yi)動,保持(chi)穩定;SK-LZJ/LZJ-( )F流(liú)量計錐(zhui)管 内壁(bì)有♻️三條(tiáo)導向🔴凸(tū)筋⛹🏻♀️,使浮(fu)子保持(chí)穩定(見(jiàn)圖4)。通徑(jing)DN10以下的(de)流量計(ji)采用軟(ruan)管連接(jie),配有 針(zhēn)形流量(liàng)調節閥(fá);通徑DN15以(yi)上流量(liang)計采用(yòng)法蘭連(lián)接。 |
|
接觸(chu)測量流(liú)體的零(ling)部件材(cai)質 |
型号(hao)規格及(jí)技術參(cān)數
全不(bú)鏽鋼型(xíng)
法蘭、浮(fu)子、導杆(gǎn)、支承闆(pan)及螺栓(shuān)等均爲(wèi)不鏽鋼(gāng)304(1Cr18Ni9Ti),型号爲(wei)🍉SK-LZB-( )B。
接液材(cai)質如需(xū)選用316,則(zé)型号爲(wei)SK-LZB-( )Bo,需定做(zuo)。
如需不(bu)鏽鋼内(nei)襯PTFE,則型(xing)号爲SK-LZB-( )BF(或(huò)BoF),需定做(zuo)。
全四氟(fu)型
基座(zuò)、浮子、針(zhen)閥采用(yong)聚四氟(fú)乙烯(PTTFE)。支(zhī)承闆、螺(luo)絲等采(cǎi)🏃🏻♂️用不鏽(xiù)鋼